咨询热线

400-807-8070

在线咨询

专属客户经理提供专业在线解答

摩托车噪声第三阶段,摩托车排放第五阶段公布实行

2026-03-06

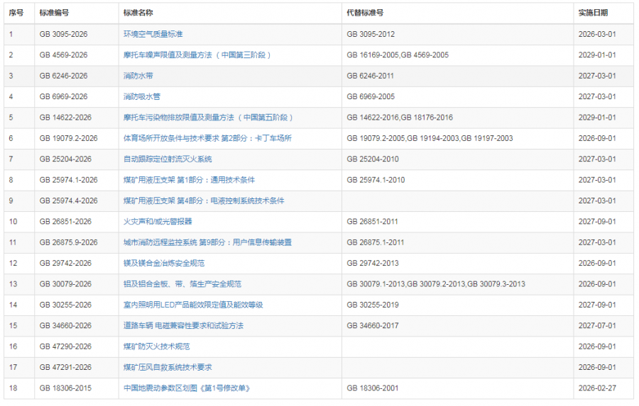
  国家市场监督管理总局(国家标准化管理委员会)批准了摩托车噪声第三阶段、摩托车排放第五阶段在内的17项强制性国家标准和1项强制性国家标准修改单。下面浙江赛特工程师为企业详细介绍相关公告,供大家参考。


image.png

返回列表