咨询热线

400-807-8070

在线咨询

专属客户经理提供专业在线解答

行业资讯

注意!这两个国际认可组织即将解散

注意!这两个国际认可组织即将解散

近期,国际认可论坛(IAF)和国际实验室认可合作组织(ILAC)联合成员大会在泰国曼谷举行……

2025-10-31

最新版认证认可业务信息统一上报平台通知介绍

最新版认证认可业务信息统一上报平台通知介绍

为进一步提升信息化系统对认证认可业务的支撑能力,国家认监委近日对现有……

2025-10-30

联合国世界车辆法规协调论坛相关介绍

联合国世界车辆法规协调论坛相关介绍

上周,联合国世界车辆法规协调论坛(UN/WP.29) 汽车生命周期评价非正式工作组(A-LCA IWG)第29次……

2025-10-23

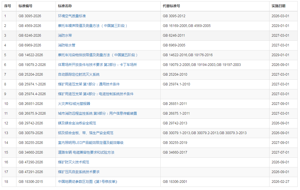
关于25年强制性国家标准复审工作介绍

关于25年强制性国家标准复审工作介绍

为更快推动强制性国家标准的升级,持续提升标准的适用性、规范性、时效性与协调性,国家标准委于9月26日发布了强制性国家标准开展复审工作的通知,复审工作开展要求及工作安排下面浙江赛特认证为企业详细解读……

2025-10-11

关于纯电动乘用车实施出口许可证管理情况解读

关于纯电动乘用车实施出口许可证管理情况解读

根据商务部、工业和信息化部、海关总署、市场监管总局2025年公告第54号(《公布对纯电动乘用车实施出口许可证管理》)。浙江赛特工程师现将总结归纳,将2026年度汽车和摩托车出口许可申报工作有关要求通知介绍如下

2025-09-30